HomeCompany ProfileProduct Catalog  
 Products

 

 Our Product Range
Voice Synthesizer
Ropes
Accessories
Handrails
Safetystrips
Load Sensors
Cables
Step Chain
ARD
Emergency Lift Telephones
Door Safety Detector
Escalator Safetystrip
 
 

 

SAFETY

 

Side entrapments on escalators are the second most common form of accidents after falls. Serious injuries both physical and mental can leave victims scarred for life.

Escalator Safetystrip is a major step forward in reducing the possibility of such accidents.

It will deflect and guide limbs and clothing away from the trapping area.

 

  • Reduces accidents

  • Easy to install on most makes of escalator

  • Warns passengers of proximity to hazard zone

  • Tactile nature of deflector, guides passengers to a safer position

  • No operating instruction needed

  • Attractive and durable design complements escalator contours

  • Long life expectancy

  • Minimal maintenance

  • Highly cost effective

  • Conforms to EN115:1995

DESIGN

 

Kleeneze Sealtech Limited in conjunction with London Underground Limited and consultation with the U.K. Health and Safety Executive have designed and developed an effective deflector device—Escalator Safetystrip. It can be easily fitted to all escalator skirting sidewall profiles. Advice on suitability of design of deflector for escalator and moving walkways can be provided by a back up team of well qualified and experienced engineers.


EOR Profile

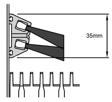
· Designed to A17 & EN115

· Height 35mm

· Standard Incline Length 3M

· Aluminium End Caps

KOS Profile

· Designed to A17 & EN115

· Height 24mm

· Standard Incline Length 2.4M

· Plastic Moulded End Caps

BOT Profile

· Designed to A17

· Height 18mm

· Standard Incline Length 3M

· Plastic Moulded End Caps

Download profiles (PDF)

Download product brochure (PDF)

 

 Contact Us

 

 


Unilift Components Pte Ltd

502 Chai Chee Lane #01-02E / 01-03E     
Singapore 469025    

Tel : 65-65423928 , Fax : 65-65421968
Email Address : enquiry@unilift.net

Homepage : Click here
Key Contact :

C C Toh , Director

 

Go to Products Showroom